產品目錄
液體渦輪流量計
液體流量計
水流量計
油流量計
氣體渦輪流量計
橢圓齒輪流量計
電磁流量計
渦街流量計
蒸汽流量計
孔板流量計
旋進旋渦流量計
熱式氣體質量流量計
轉子流量計
浮子流量計
靶式流量計
氣體流量計
超聲波流量計
磁翻板液位計
浮子液位計
浮球液位計
玻璃管液位計
雷達液位計
超聲波液位計
投入式液位計
壓力變送器
差壓變送器
液位變送器
溫度變送器
熱電偶
熱電阻
雙金屬溫度計
推薦產品
聯系我們
- 金湖凱銘儀表有限公司
- 聯系電話:15195518515
- 在線客服:1464856260
- 電話:0517-86801009
- 傳真號碼:0517-86801007
- 郵箱:1464856260@qq.com
- 網址:http://www.527yx.cn
- 地址:江蘇省金湖縣理士大道61號
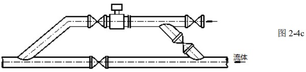
自來水流量計安裝位置
正確地選擇安裝位置和正確安裝自來水流量計都是非常重要的環節,若在安裝環節失誤,輕者影響測量精度,重者會影響自來水流量計的使用壽命,甚至會損壞自來水流量計。選擇安裝位置時應注意以下問題:
1.測量電*的軸線必須近似于水平方向(與水平線夾角一般為 10°以內)

2.測量管道內必須完全充滿液體。
3.自來水流量計的前方*少要有 5×D(D 為流量計內徑)長度的直管段,后方*少要有 2×D(D為流量計內徑)長度的直管段。

4.流體的流動方向和自來水流量計的箭頭方向一致。
5.管道內要有真空會損壞自來水流量計的內襯,需特別注意。
6.在自來水流量計附近應無強電磁場,儀表安裝場所的磁場強度應小于 400A/m(避免安裝在大型電機或變壓器等設備附近)。
7.若測量管道有振動,在自來水流量計的兩邊應有固定的支座。
8.測量不同介質的混合液時,混合點與自來水流量計之間的距離*少要有 30×D(D 為流量計內徑)。
9.為方便今后自來水流量計的清洗和維護,應安裝旁通管道。

10.安裝聚四氟乙烯內襯的自來水流量計時,連接兩法蘭的螺栓應注意均勻擰緊,否則容易壓壞聚四氟乙烯內襯,*好用力矩扳手。
11.儀表應避免強烈振動和過大的溫度變化,同時要防止腐蝕性液體的滴漏對儀表造成損害。
12.如果安裝地點易受陽光曝曬,應當增加遮蔽設施。
13.安裝傳感器時,應保證測量管與工藝管道同軸。對 50mm 及以下公稱通徑的傳感器,其軸線偏離不超過 2mm。DN65~DN150 其軸線偏離不超過 3mm,≥DN200 其軸線偏離不超過 4mm。
14.法蘭之間加裝的法蘭墊圈,應有良好的耐腐蝕性能,該墊圈不得伸入管道內部。
15.緊固儀表螺栓、螺母,其螺紋應完整無損,潤滑良好。應依據法蘭尺寸、力矩大小采用力矩扳手緊固螺栓。
16.在傳感器鄰近管道進行焊接或火焰切割時,要采用隔離措施,防止襯里受熱,且必須確認儀表未通電運行,防止損壞儀表。
相關資訊
- dn300自來水流量計技術參數
- 小口徑自來水流量計規格型號
- 自來水流量計的誤差范圍
- 自來水流量計怎么查數據
- 自來水流量計的功能
- 自來水流量計的作用
- 自來水流量計種類有哪些
- 影響自來水流量計計量因素分析
- 自來水流量計精度等級
- 自來水流量計怎么讀數
- 自來水流量計規格型號
- 自來水流量計數值突然增大原因分析與處理
- 自來水流量計安裝位置
- 自來水流量計工作原理
- 自來水流量計歸零操作流程
- 自來水流量計如何校驗
- 自來水流量計安裝規范要求
- 自來水流量計使用方法
- 自來水流量計結構圖
- 自來水流量計如何歸零
- 自來水流量計怎么接線圖解
- 自來水流量計的技術參數
- 自來水流量計的選型指南
- 自來水流量計怎么調整
- 自來水管流量表,自來水流量計量表
- dn100自來水流量計,自來水流量計價格
- 自來水管道電磁流量表,自來水計量表價格
- 自來水流量計價格,自來水用水流量計
- 管道自來水流量計,測量自來水流量計
- 自來水流量表,測自來水流量用哪種流量計

