產品目錄
液體渦輪流量計
液體流量計
水流量計
油流量計
氣體渦輪流量計
橢圓齒輪流量計
電磁流量計
渦街流量計
蒸汽流量計
孔板流量計
旋進旋渦流量計
熱式氣體質量流量計
轉子流量計
浮子流量計
靶式流量計
氣體流量計
超聲波流量計
磁翻板液位計
浮子液位計
浮球液位計
玻璃管液位計
雷達液位計
超聲波液位計
投入式液位計
壓力變送器
差壓變送器
液位變送器
溫度變送器
熱電偶
熱電阻
雙金屬溫度計
推薦產品
聯系我們
- 金湖凱銘儀表有限公司
- 聯系電話:15195518515
- 在線客服:1464856260
- 電話:0517-86801009
- 傳真號碼:0517-86801007
- 郵箱:1464856260@qq.com
- 網址:http://www.527yx.cn
- 地址:江蘇省金湖縣理士大道61號
純化水流量計安裝條件及位置
發布時間:2021-09-27 02:15:14??點擊次數:2729次
1、環境要求
(1)傳感器安裝在室外時,應避陽光直射和防雨淋措施
(2)安裝前,管道需要吹掃
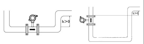
2、安裝位置要求
(1)管道必須完全充滿液體。重要的是,在任何時候,保持管道內完全充滿液體,否則流量顯示會受到影響,可能會導致測量誤差。

(2)避免氣泡。如果有氣泡進入測量管,流量顯示可能會受到影響,可能會導致測量誤差。

3、直管段要求
(1)一般情況
(2)90°彎頭

(3)同一平面上兩個90°彎頭
(4)不同平面上兩個90°彎頭

(5)縮管
(6)擴管

(7)全開閥門
(8)半開閥門

(9)若上游側阻流件情況不明確,一般推薦上游直管段長度不小于20D,下游直管段長度不小于5D
(10)如安裝控件不能滿足上述要求,可在阻流件與傳感器之間裝整流器。
上一篇:藥廠純化水流量計怎么看下一篇:純化水流量計如何選型

