產品目錄
液體渦輪流量計
液體流量計
水流量計
油流量計
氣體渦輪流量計
橢圓齒輪流量計
電磁流量計
渦街流量計
蒸汽流量計
孔板流量計
旋進旋渦流量計
熱式氣體質量流量計
轉子流量計
浮子流量計
靶式流量計
氣體流量計
超聲波流量計
磁翻板液位計
浮子液位計
浮球液位計
玻璃管液位計
雷達液位計
超聲波液位計
投入式液位計
壓力變送器
差壓變送器
液位變送器
溫度變送器
熱電偶
熱電阻
雙金屬溫度計
推薦產品
聯系我們
- 金湖凱銘儀表有限公司
- 聯系電話:15195518515
- 在線客服:1464856260
- 電話:0517-86801009
- 傳真號碼:0517-86801007
- 郵箱:1464856260@qq.com
- 網址:http://www.527yx.cn
- 地址:江蘇省金湖縣理士大道61號
根據渦輪流量計的原理和誤差理論提高測量精度
發布時間:2020-08-30 22:58:49??點擊次數:2758次
提要:根據渦輪流量計的工作原理和誤差理論的分析與合成原則, 從理論和實際應用上,分析了產生誤差的原因和誤差量級, 闡述了提高渦輪流量計測量水泵流量精度的方法。
水泵試驗中, 精度是測試工作的重點, 而其中流量的測量誤差往往在效率試驗中占總誤差的70%以上。因此, 減小流量測量誤差是提高水泵測試精度的重要環節。
目前, 水泵流量的測量方法很多, 其中渦輪流量計使用方便, 價格適宜, 使用甚廣。利用其優點, 采用測頻計數——測周計脈沖法, 可有效地控制誤差, 提高測試精度。
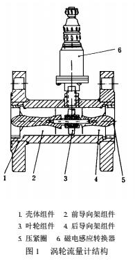
1、渦輪流量計的工作原理
智能型渦輪流量計的結構如圖1所示。它是一種速度式流量儀表, 以動量矩的守恒原理為基礎。當流體沖擊葉輪葉片, 使葉輪旋轉。旋轉速度隨流量的變化而變化, 同時導磁性的葉輪周期性的改變磁電系統的磁阻值, 使通過線圈的磁通量發生周期性的變化, 因而在線圈內感應出脈沖電信號, 經放大后計數和顯示。
部分渦輪流量計的規格和精度如表1所示。

在測量范圍內, 葉輪的轉速可看成與流量成正比, 而信號脈沖數與葉輪的轉速成正比, 所以當測得葉輪轉動頻率f或某一時間內的脈沖總數m后, 分別除以渦輪流量計常數ζ(次/L),便可求得流量Q (L/s),即

由此可見,用渦輪流量計測量水泵流量,需測量頻率f。從表1中可見,渦輪流量計的頻率(精度范圍內)在20Hz到500Hz之間。

2、誤差分析
根據誤差理論中誤差分析與合成原則,使用渦輪流量計測量水泵流量時, 其系統誤差用方和根表示為

式中δQ——用渦輪流量計測量流量時的系統誤差;
δw——渦輪流量計精度, 選用一定的流量計,其精度也就基本確定;
δf——渦輪流量計輸出信號頻率的測量精度, 由頻率測量方法決定。
因此, 提高渦輪流量計測量流量的精度, 必須降低δf到微小誤差的量級上, 使之可以忽略不計。一般頻率的測量精度由兩部分組成,即
δf=δ±1個字
式中 δ由頻率測量通道的時鐘電路和輸入放大電路決定, 通常為0.1%;±1個字是由于檢測周期與計數脈沖不同步,使計數器多計或少計一個數所造成的誤差。
頻率測量通常是在標準時間內,用計數器累計渦輪流量計輸出的脈沖數來計算的, 顯然, 標準時間和信號周期是同步的, 即標準時間不可能正好是信號脈沖的整數倍。其±1個字的誤差在標準時間為1s時,就是±1Hz,相對誤差為±1f/1×100%。因此,這種方法在小流量(低頻)時,由于計數值較少,誤差是相當大的。如f=10Hz時,相對誤差為10%,將標準時間延長為10s,其相對誤差仍有1%,即使在大流量時,如f=500Hz時,其相對精度仍有0.2%。因此,計數測頻法在水泵整個流量范圍內,誤差不能控制在微小誤差數量級上,因而不可忽略。
3、提高精度的方法
精確測量頻率的關鍵是使檢測周期與信號周期同步。因此,我們設想用信號周期作為檢測周期, 將測頻計數和測周計脈沖相結合, 這樣, 既可在小流量時可靠地測頻, 在大流量時亦具有較高的分辨率。
這種方法的硬件電路如圖2所示,包括單片機8031,可編程定時器8253以及兩個D觸發器。其中t1由一個8253定時器0來定時,其值是不變的。檢測時間t在t1結束后,由渦輪流量計輸出信號的*一個脈沖來決定。即t=t1+△t,m1和m2是檢測時間t內渦輪流量計發出的脈沖數和時鐘脈沖的計數值,T0是一個脈沖的周期,分別用8253定時器1和定時器2進行計數,且t=m2T0,則頻率f 為


這種方法的外部中斷服務程序框圖如圖3所示。

采用這種方法只存在時鐘脈沖的計數誤差。由于晶振的時鐘頻率f0很高,在一個信號周期內,±1個字的誤差為f/f0,若f0=1MHz,在小流量(f=10Hz)時,相對誤差為0.001%;大流量(f=500Hz)時,其相對誤差為0.05%。因此,頻率測量誤差δf相對δw和δ為微小誤差,可以忽略其影響。
4、結論
采用測頻計數——測周計脈沖法與目前測頻計數法相比,前者遠遠小于后者的測量誤差,采用這種方法不僅測量精度有保證,且可靠易于實現,可從根本上解決渦輪流量計對水泵流量的測量精度及減小誤差問題。表2是改進前后的測量誤差實測對比。

經過實際應用證明,這種方法在精度和誤差方面完全符合理論研究與設計結果,是提高渦輪流量計對水泵流量測量精度較好的方法。
相關資訊
- 氣體渦輪流量計安裝直管段要求
- 氣體渦輪流量計的結構與工作原理
- 氣體渦輪流量計的產品特點和適用范圍
- 氣體渦輪流量計選型指南與外形尺寸
- 渦輪流量計的常見故障及排除
- 渦輪流量表怎么調節
- 渦輪流量計安裝直管段要求
- 渦輪流量計的適用場合與量程范圍
- 渦輪流量計由什么組成
- 渦輪流量計的工作原理
- 壓力對渦輪流量計精度的影響
- 液體渦輪流量計使用常見問題
- 液體渦輪流量計的使用場合
- 液體渦輪流量計怎么接電
- 渦輪流量計的使用范圍
- 渦輪流量計安裝條件與環境要求
- 渦輪流量計安裝在什么位置
- 液體渦輪流量計設置方法
- 氣體渦輪流量計使用環境
- 氣體渦輪流量計使用注意事項
- 氣體渦輪流量計怎么清洗
- 氣體渦輪流量計適用范圍
- 氣體渦輪流量計為什么要加油
- 氣體渦輪流量計波動大解決辦法
- 氣體渦輪流量計安裝距離要求
- 氣體渦輪流量計安裝注意事項
- 氣體渦輪流量計應用范圍
- 氣體渦輪流量計常見故障有哪些
- 提高氣體渦輪流量計精度的方法
- 氣體渦輪流量計精度等級

