產品目錄
液體渦輪流量計
液體流量計
水流量計
油流量計
氣體渦輪流量計
橢圓齒輪流量計
電磁流量計
渦街流量計
蒸汽流量計
孔板流量計
旋進旋渦流量計
熱式氣體質量流量計
轉子流量計
浮子流量計
靶式流量計
氣體流量計
超聲波流量計
磁翻板液位計
浮子液位計
浮球液位計
玻璃管液位計
雷達液位計
超聲波液位計
投入式液位計
壓力變送器
差壓變送器
液位變送器
溫度變送器
熱電偶
熱電阻
雙金屬溫度計
聯系我們
- 金湖凱銘儀表有限公司
- 聯系電話:15195518515
- 在線客服:1464856260
- 電話:0517-86801009
- 傳真號碼:0517-86801007
- 郵箱:1464856260@qq.com
- 網址:http://www.527yx.cn
- 地址:江蘇省金湖縣理士大道61號
雷達液位計產品概述
RD系列傳感器是26G高頻雷達式物位測量儀表,測量*大距離可達70米。天線被進一步優化處理,新型快速的微處理器可以進行更高速率的信號分析處理,使得儀表可以用于反應釜、固體料倉等一些復雜的測量條件。
雷達液位計原理
雷達物位天線發射較窄的微波脈沖,經天線向下傳輸。微波接觸到被測介質表面后被反射回來再次被天線系統接收,將信號傳輸給電子線路部分自動轉換成物位信號(因為微波傳播速度*快,電磁波到達目標并經反射返回接收器這一來回所用的時間幾乎是瞬間的)。
測量的基準面是:螺紋底面或法蘭的密封面。
注:使用雷達物位計時,務必保證*高料位不能進入測量盲區(圖中D所示區域)。
雷達物位計特點
1.天線尺寸小,便于安裝;非接觸雷達,無磨損,無污染。
2.幾乎不受腐蝕、泡沫影響;幾乎不受大氣中水蒸氣、溫度和壓力變化影響。
3.嚴重粉塵環境對高頻物位計工作影響不大。
4.波長更短,對在傾斜的固體表面有更好的反射。
5.波束角小,能量集中,增強了回波能力的同時又有利于避開干擾物。
6.測量盲區更小,對于小罐測量也會取得良好的效果。
7.高信噪比,即使在波動的情況下也能獲得更優的性能。
8.高頻率,是測量固體和低介電常數介質的*佳選擇。
雷達液位計技術參數
雷達液位計儀表介紹
雷達液位計安裝要求
安裝指導
安裝在直徑的1/4處或1/6處。
注:距離罐壁*小距離應為罐高的1/10。
注:①基準面 ②容器中央或對稱軸
錐形罐頂部平面,可裝在罐頂正中間,可保證測量到錐形底部。
有料堆時天線要垂直對準料面。若料面不平,堆角大必須使用萬向法蘭來調整喇叭角度使喇叭盡量對準料面 。
(由于傾斜的固體表面會造成回波衰減,甚至丟失信號的問題)
典型的錯誤安裝:
錐形罐不能安裝在入料口的上方。
同時注意:室外安裝時應采取遮陽、防雨措施。
①正確 ②錯誤
儀表不能安裝在拱形或圓形罐頂中間。除了會產生間接回波還會受到多次回波的影響。多次回波可能比真正回波的信號閥值還大,因為通過頂部可集中多個回波。所以不能安裝在中心位置。
①正確 ②錯誤
當罐中有障礙物影響測量時,要加裝反射板才能正常測量。
①正確 ②錯誤
接管高度要求: 必須保證天線伸入到罐里至少10mm的距離。
雷達液位計電氣連接
供電電壓
(4~20) mA/HART(兩線制)供電電源和輸出電流信號共用一根兩芯屏蔽電纜線。具體供電電壓范圍參見技術數據。對于本安型須在供電電源與儀表之間加一個安全柵。
(4~20) mA/HART(四線制)供電電源和電流信號分開,各自分別使用一根電纜線。具體供電電壓范圍參見技術數據。
RS485/Modbus 供電電源和Modbus信號線分開各自分別使用一根屏蔽電纜線,具體供電電壓范圍參見技術數據。
雷達液位計連接方式
24V兩線制接線圖如下:
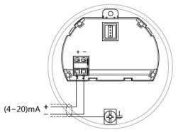
220V四線制接線如下圖:
24V RS485/Modbus接線圖如下:
安全指導
請遵守當地電氣安裝規程的要求!
請遵守當地對人員健康和安全的規程要求。所有對儀表電氣部件的操作必須由經過正規培訓的專業人員完成。
請檢查儀表的銘*確保產品規格符合您的要求。請確保供電電壓與儀表銘*上的要求一致。
雷達液位計防護等級
本儀表完全滿足防護等級IP66/67的要求,請確保電纜密封頭的防水性。如下圖:
如何確保安裝滿足IP67的要求:
請確保密封頭未受損。
請確保電纜未受損。
請確保所使用的電纜符合電氣連接規范的要求。
在進入電氣接口前,將電纜向下彎曲,以確保水不會流入殼體,見①
請擰緊電纜密封頭,見②
請將未使用的電氣接口用盲堵堵緊,見③
雷達液位計結構尺寸(單位:mm)
表殼
外觀尺寸
RD704
RD705
RD706
RD707
RD708
RD709
法蘭選型
*新資訊
- 雷達液位計在河道中的應用
- 雷達液位計波束角怎么修改
- 雷達液位計測量不準的因素與處理
- 雷達液位計技術性能說明
- 26g和80g雷達液位計怎么區分
- 導波雷達液位計和雷達物位計的區別
- 雷達液位計的特點有哪些
- 雷達液位計傳感器怎么接線
- 雷達液位計如何選擇量程范圍
- 雷達液位計天線的作用及適用工況
- 雷達液位計現場調試方法
- 雷達液位計的工作原理及特點
- 霧氣對雷達液位計測量的影響
- 什么是雷達液位計盲區
- 雷達液位計在儲油罐上的應用
- 雷達液位計的天線類型有哪些
- 雷達液位計的優缺點有哪些
- 雷達液位計的正確安裝方法
- 雷達液位計的安裝位置要求
- 雷達液位計如何安裝使用
- 雷達液位計對介質的要求
- 雷達液位計常見故障與處理
- 雷達液位計的種類特點和用途
- 雷達液位計的維護與保養
- 影響雷達液位計測量因素有哪些
- 如何正確的選擇雷達液位計
- 雷達液位計與超聲波的區別
- 雷達液位計結構組成及原理




